Leaking Seat Valves
Leaking Seat Valves
Anyone had experience of fixing the leaking seat valves?
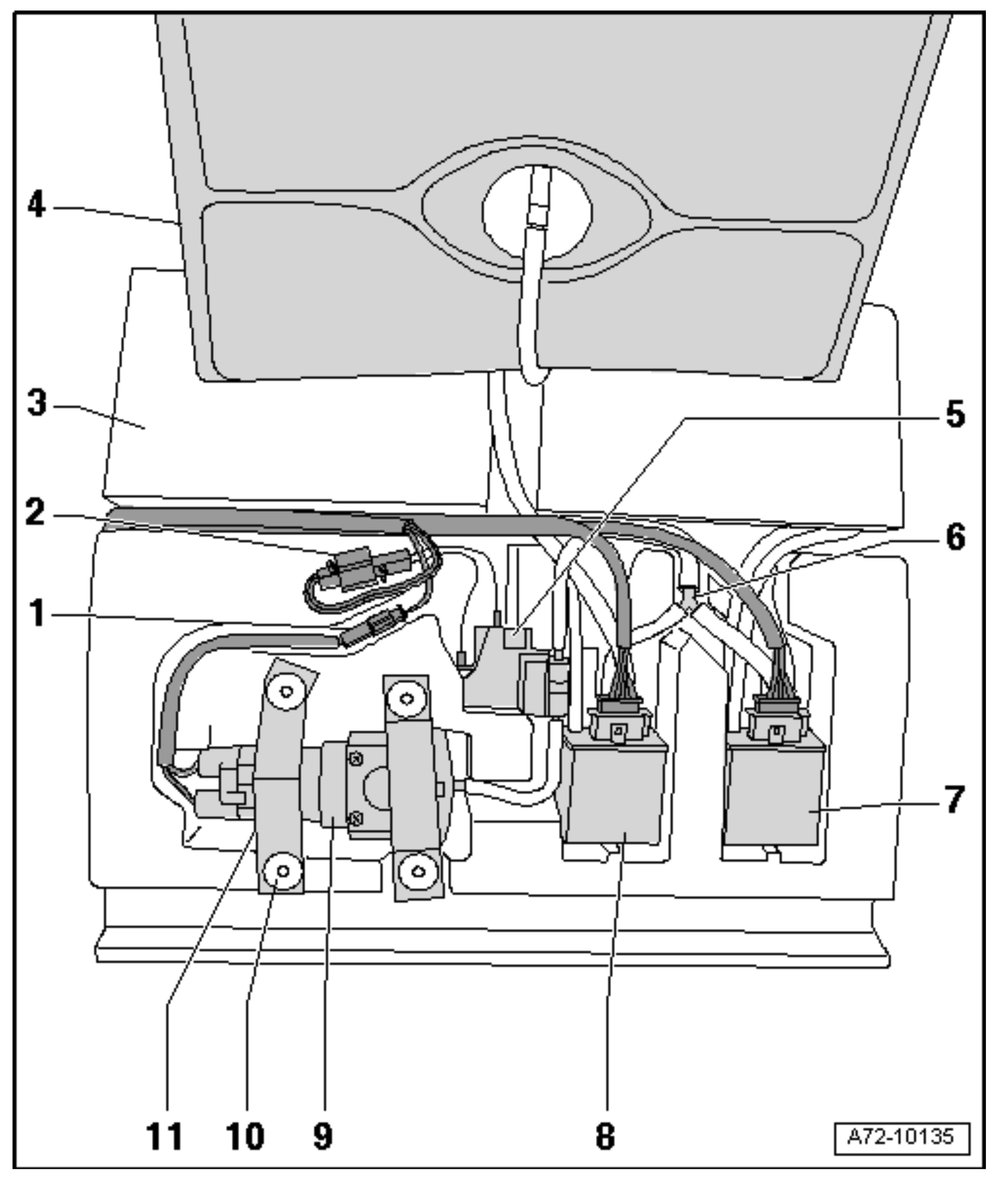
If so... which of the components in the attached diagram, were at fault ?
Cheers
Tim
If so... which of the components in the attached diagram, were at fault ?
Cheers
Tim
VW Toe-rag V6 R-line.... no curry hooks...wtf ?
Gone: Avus Avant B7 RS4.... plus curry hooks !
Gone: Avus Avant B7 RS4.... plus curry hooks !
Re: Leaking Seat Valves
I’ve got a pair of leaking bucket seats too, both the side and thigh support are leaking.
I had the passenger seat disassembled to see what’s coursing the leak and it looks like its component 8.
After I inflate the air bags, I can hear a slight hissing from component 8 (solenoid valve/switch for the side and thigh support). I’ve ordered one this morning from my local stealer (at over £160!) and it should be here tomorrow. I also noticed that one of the back support air bags deflates slowly too, so I might need to change that one too (component 7).
I had the passenger seat disassembled to see what’s coursing the leak and it looks like its component 8.
After I inflate the air bags, I can hear a slight hissing from component 8 (solenoid valve/switch for the side and thigh support). I’ve ordered one this morning from my local stealer (at over £160!) and it should be here tomorrow. I also noticed that one of the back support air bags deflates slowly too, so I might need to change that one too (component 7).
Phantom Black R8 V10 plus, Capristo Exhaust
Phantom Black (B7) RS4 Saloon, MRC Stage 2
Mercedes E-Coupe 350CDi
Phantom Black (B7) RS4 Saloon, MRC Stage 2
Mercedes E-Coupe 350CDi
Re: Leaking Seat Valves
Brilliant... I got a reply
Thanks for the info. I'll be really interested to hear your outcome.
I guess it's trial and error !
VW Toe-rag V6 R-line.... no curry hooks...wtf ?
Gone: Avus Avant B7 RS4.... plus curry hooks !
Gone: Avus Avant B7 RS4.... plus curry hooks !
Re: Leaking Seat Valves
Yes its trial and error!
I’ll try to fit them tomorrow if I got time.
I’ll try to fit them tomorrow if I got time.
Phantom Black R8 V10 plus, Capristo Exhaust
Phantom Black (B7) RS4 Saloon, MRC Stage 2
Mercedes E-Coupe 350CDi
Phantom Black (B7) RS4 Saloon, MRC Stage 2
Mercedes E-Coupe 350CDi
Re: Leaking Seat Valves
I had leaks on my previous car's buckets - both sets of valves and pumps - £1600 including fitting
but warranty claim 
Great job in the end aside from the leather seat trim - first attempt was diabolical - undertaken by a fitter - a leather trim specialist was brought in to leave it as Audi meant it to look!
Great job in the end aside from the leather seat trim - first attempt was diabolical - undertaken by a fitter - a leather trim specialist was brought in to leave it as Audi meant it to look!
2013 Ibis White RS7¬
¦ParkingPackPlus¦Sunroof¦HUD¦AudiConnect¦HeatedRearSeats¦RearSideAirbags¦RedBrakeCalipers¦QuattroPuddelights¦SoftCloseDoors¦NightVision¦Dynamic Package¦CarbonPackage¦CarbonMirrors¦21" GlossBlack¦ACC¦Stop&Go¦PreSensePlus¦SideAssist¦LaneAssist¦B&O¦BlackOptics¦OEMBlackBadging¦Gyeon Q2 Duraflex¦
¦ParkingPackPlus¦Sunroof¦HUD¦AudiConnect¦HeatedRearSeats¦RearSideAirbags¦RedBrakeCalipers¦QuattroPuddelights¦SoftCloseDoors¦NightVision¦Dynamic Package¦CarbonPackage¦CarbonMirrors¦21" GlossBlack¦ACC¦Stop&Go¦PreSensePlus¦SideAssist¦LaneAssist¦B&O¦BlackOptics¦OEMBlackBadging¦Gyeon Q2 Duraflex¦
Re: Leaking Seat Valves
Tim Doug ordered me the parts from mines and the retrimmer is installing them, hopefully it cures my problem!
1*** hp TTE C6 rs6 saloon and the ultimate WB B5
Re: Leaking Seat Valves
Good news:- I fitted one new solenoid valve last night and it has solved the leak on the side and thigh bolsters
Bad news:- looks like I have to buy another three to fix the rest
I can't believe Audi charge £160.03 including vat each for this
. The best price I could find was 10% discount from TPS.
Bad news:- looks like I have to buy another three to fix the rest
I can't believe Audi charge £160.03 including vat each for this
Phantom Black R8 V10 plus, Capristo Exhaust
Phantom Black (B7) RS4 Saloon, MRC Stage 2
Mercedes E-Coupe 350CDi
Phantom Black (B7) RS4 Saloon, MRC Stage 2
Mercedes E-Coupe 350CDi
Re: Leaking Seat Valves
Good work there Nij.
I get the bottom photo, but what's the top one showing ?
And which of your valves was the culprit ?
Cheers
I get the bottom photo, but what's the top one showing ?
And which of your valves was the culprit ?
Cheers
VW Toe-rag V6 R-line.... no curry hooks...wtf ?
Gone: Avus Avant B7 RS4.... plus curry hooks !
Gone: Avus Avant B7 RS4.... plus curry hooks !
Re: Leaking Seat Valves
The culprit is component 8 (for the side ans thigh bolsters). Component 7 is for the lumber support (7 & 8 are the same components and 5 is the pressure valve).
The upper part of the lumber support is also leaking on mine, so it looks like I would need three more valves.
The top photo is the solenoid valve that I've taken apart. As you can see, it's just a couple of simple solenoid valves!
Here is the culprit before I've taken it apart.
The upper part of the lumber support is also leaking on mine, so it looks like I would need three more valves.
The top photo is the solenoid valve that I've taken apart. As you can see, it's just a couple of simple solenoid valves!
Here is the culprit before I've taken it apart.
Phantom Black R8 V10 plus, Capristo Exhaust
Phantom Black (B7) RS4 Saloon, MRC Stage 2
Mercedes E-Coupe 350CDi
Phantom Black (B7) RS4 Saloon, MRC Stage 2
Mercedes E-Coupe 350CDi
Re: Leaking Seat Valves
Ah right... that's what I was going to do (after you'd been the guinea pig).
.... take that thing apart and see what actually leaks (I'd assumed it was some kind of dodgy diaphragm ).
So I guess from the "bits" and your symptoms, the valve is 1 in -2 out ?
.... take that thing apart and see what actually leaks (I'd assumed it was some kind of dodgy diaphragm ).
So I guess from the "bits" and your symptoms, the valve is 1 in -2 out ?
VW Toe-rag V6 R-line.... no curry hooks...wtf ?
Gone: Avus Avant B7 RS4.... plus curry hooks !
Gone: Avus Avant B7 RS4.... plus curry hooks !
Re: Leaking Seat Valves
Yes, each one has 2 outlets, component 8 controls the side bolsters and thigh supports, component 7 controls the lower and upper lumber supports.
I'm not sure what's causing the leaks, but I think it could be one of 3 things:-
1. If you look closely, there is a ring shape indentation on top of each orange rubber gaskets (a bit like a kitchen tap rubber washer). May be as simple as needing a new rubber bit, which I would doubt you could source.
2. There is a spring under each of the valves (when you lift up the above). May be it needs new springs or just stretch the existing ones.
3. The electromagnetic part of the solenoid is no longer strong enough.
I will have another look tonight if I have time.
I'm not sure what's causing the leaks, but I think it could be one of 3 things:-
1. If you look closely, there is a ring shape indentation on top of each orange rubber gaskets (a bit like a kitchen tap rubber washer). May be as simple as needing a new rubber bit, which I would doubt you could source.
2. There is a spring under each of the valves (when you lift up the above). May be it needs new springs or just stretch the existing ones.
3. The electromagnetic part of the solenoid is no longer strong enough.
I will have another look tonight if I have time.
Phantom Black R8 V10 plus, Capristo Exhaust
Phantom Black (B7) RS4 Saloon, MRC Stage 2
Mercedes E-Coupe 350CDi
Phantom Black (B7) RS4 Saloon, MRC Stage 2
Mercedes E-Coupe 350CDi
Re: Leaking Seat Valves
Out of those.... I'd probably go for Option 1.
This is such a common problem that I suspect the rubber gaskets as the weak point.
This is such a common problem that I suspect the rubber gaskets as the weak point.
VW Toe-rag V6 R-line.... no curry hooks...wtf ?
Gone: Avus Avant B7 RS4.... plus curry hooks !
Gone: Avus Avant B7 RS4.... plus curry hooks !
Re: Leaking Seat Valves
Hi there,
I also have this same problem. The side bolsters and thigh bolsters inflate then slowly seep away. How do I access the components you've shown in one of your pics? Is it a seat out job and complete strip down? Just don't wanna go ahead and start taking things apart that I don't need to.
James
I also have this same problem. The side bolsters and thigh bolsters inflate then slowly seep away. How do I access the components you've shown in one of your pics? Is it a seat out job and complete strip down? Just don't wanna go ahead and start taking things apart that I don't need to.
James
Current B7 sprint blue saloon
Gone
Mk5 R32
Mk4 R32
Both great cars
Gone
Mk5 R32
Mk4 R32
Both great cars
Re: Leaking Seat Valves
Tim, I’ve had a proper look and made some adjustments to the old solenoid valves, but it still leaks. I think you are right about the gaskets being the weak link, it’s a bit like a kitchen tap, once it start to leak, you need to replace the rubber washer (but in this case, there is no replacement gasket available).
I have now replaced both valves in the passenger seat and everything seems fine, I’ll have to check in the morning to see if any of the bags have gone down.
James, I think you could strip the upper leather with the seat in place, but I haven’t tried it as my seats were already out of the car. If you’re going to take the seats out, it’s only held in place by 4 (10mm Spline headed) bolts and three electric plugs on each seat. I’m not sure if you need to disconnect the battery first though (because of the airbag plug)!
All the components in the diagram and photo are located behind the lumber support air bags. So, you only need to take the upper leather off.
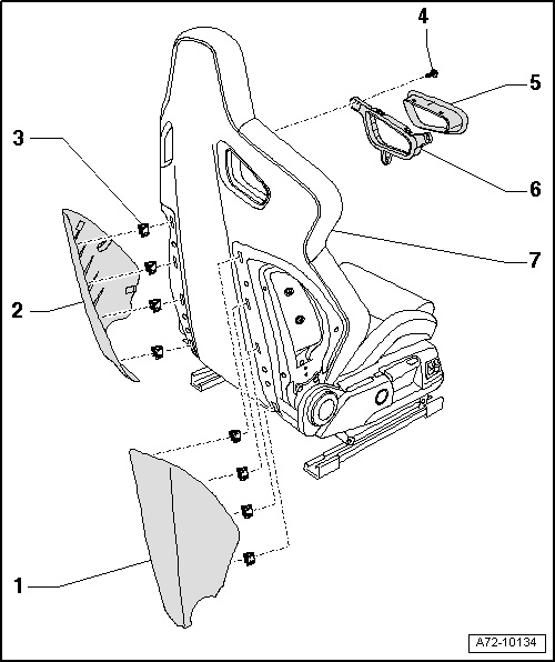
First, take off the 2 plastic seat belt loops behind the shoulders, It’s held on by 4 tab and some glue (see photo), you need to get your fingers in the top and bottom part to dislodge the tab and glue. There are some clips that hold the bottom part of the leather in place, I would try to leave them and start on the side by pulling the leather away from the back shell. Once you got the leather off the back shell, you need to be careful and peel the leather off the foam. It’s held on by Velcro and some clips, try not to pull the clips and Velcro strips off the foam, otherwise you need to glue them back on. Now the leather should only be attached at the bottom, move the foam and you can see the lumber support air bags, the valves are behind it.
Good luck.
I have now replaced both valves in the passenger seat and everything seems fine, I’ll have to check in the morning to see if any of the bags have gone down.
James, I think you could strip the upper leather with the seat in place, but I haven’t tried it as my seats were already out of the car. If you’re going to take the seats out, it’s only held in place by 4 (10mm Spline headed) bolts and three electric plugs on each seat. I’m not sure if you need to disconnect the battery first though (because of the airbag plug)!
All the components in the diagram and photo are located behind the lumber support air bags. So, you only need to take the upper leather off.
First, take off the 2 plastic seat belt loops behind the shoulders, It’s held on by 4 tab and some glue (see photo), you need to get your fingers in the top and bottom part to dislodge the tab and glue. There are some clips that hold the bottom part of the leather in place, I would try to leave them and start on the side by pulling the leather away from the back shell. Once you got the leather off the back shell, you need to be careful and peel the leather off the foam. It’s held on by Velcro and some clips, try not to pull the clips and Velcro strips off the foam, otherwise you need to glue them back on. Now the leather should only be attached at the bottom, move the foam and you can see the lumber support air bags, the valves are behind it.
Good luck.
Phantom Black R8 V10 plus, Capristo Exhaust
Phantom Black (B7) RS4 Saloon, MRC Stage 2
Mercedes E-Coupe 350CDi
Phantom Black (B7) RS4 Saloon, MRC Stage 2
Mercedes E-Coupe 350CDi
Re: Leaking Seat Valves
Excellent work there Nij.
Thanks for the update.
These diagrams may help others too...
(the item marked 80-200 is the Audi specific tool for the job)
Thanks for the update.
These diagrams may help others too...
(the item marked 80-200 is the Audi specific tool for the job)
Last edited by Timster on Thu May 24, 2012 9:42 pm, edited 4 times in total.
VW Toe-rag V6 R-line.... no curry hooks...wtf ?
Gone: Avus Avant B7 RS4.... plus curry hooks !
Gone: Avus Avant B7 RS4.... plus curry hooks !
Who is online
Users browsing this forum: No registered users and 1642 guests